Envíanos un correo electrónico

sdepochwater@hotmail.com

Noticias

​Las características y clasificación de las válvulas de compuerta.

2025-10-31 0 Déjame un mensaje


Una válvula de compuerta, también conocida como válvula de placa de compuerta, es una válvula cuya parte de apertura y cierre es una placa de compuerta y que es impulsada por un vástago de válvula para mover la placa de compuerta hacia arriba y hacia abajo.


Las características de las válvulas de compuerta.


1) Ventajas de las válvulas de compuerta: Baja resistencia al flujo de fluido; El par necesario para abrir y cerrar es pequeño. La dirección del flujo del medio es ilimitada. No se produce ningún fenómeno de golpe de ariete al abrir y cerrar. La estructura de la forma es relativamente simple y el proceso de fabricación es mejor.


2) Desventajas de las válvulas de compuerta: Tienen dimensiones externas y alturas de instalación relativamente grandes y requieren un espacio de instalación considerable. Durante el proceso de apertura y cierre, existe una fricción relativa en la superficie de sellado, lo que produce un desgaste significativo. Incluso a altas temperaturas, es propenso a rayarse. Las válvulas de compuerta suelen tener dos superficies de sellado, lo que añade algunas dificultades al procesamiento, rectificado y mantenimiento.


Las válvulas de compuerta tienen una amplia gama de aplicaciones. Suele utilizarse para tuberías de suministro de agua con un diámetro nominal de DN50 o superior.



Clasificación de válvulas de compuerta.


Las válvulas de compuerta se pueden clasificar según sus métodos de conexión en válvulas de compuerta roscadas, válvulas de compuerta con bridas y válvulas de compuerta soldadas. Según sus características estructurales, se pueden dividir en placas de puerta paralelas y placas de puerta en forma de cuña. Según la estructura del vástago de la válvula, se pueden clasificar en válvulas de compuerta de vástago distinto (vástago de elevación) y válvulas de compuerta de vástago oculto (vástago giratorio).




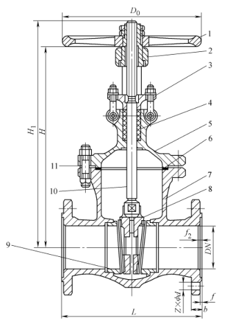
1) Válvula de doble compuerta paralela de vástago abierto: La válvula de doble compuerta paralela de vástago abierto se muestra en la Figura 1. Su compuerta está compuesta por dos discos simétricos y paralelos. Cuando la compuerta desciende, la cuña superior colocada en la parte inferior de la compuerta hace que las dos compuertas se expandan hacia afuera y presionen firmemente contra el asiento de la válvula, cerrando así la válvula herméticamente. Cuando la puerta sube, la cuña se desprende del disco. Una vez que el disco se eleva a cierta altura, las protuberancias del disco levantan la cuña y se eleva junto con la puerta. Esta válvula tiene una estructura simple. El procesamiento, rectificado y mantenimiento de su superficie de sellado son más simples que los de la válvula de compuerta de cuña. Sin embargo, su rendimiento de sellado es relativamente pobre. Es adecuado para medios con una presión no superior a 1,0 MPa y una temperatura no superior a 200 ℃.



Figura 1: Válvula de doble compuerta paralela de vástago ascendente


1. Volante 2- tuerca del vástago de la válvula 3- vástago de la válvula 4 - prensaestopas 5 - empaquetadura 6 - tapa de la válvula

7 - Junta 8 - Anillo de sellado 9- Cuerpo de válvula 10- Compuerta 11 - Cuña superior


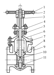
2) Válvula de compuerta de cuña de vástago oculto: como se muestra en la Figura 2, la superficie de sellado de esta válvula está inclinada y forma un ángulo. Cuanto mayor sea la temperatura media, mayor será el ángulo. Las placas de compuerta de cuña se clasifican en placas de compuerta simple, placas de compuerta doble y placas de compuerta elástica, como se muestra en las Figuras 2a, byc respectivamente. El procesamiento, rectificado y mantenimiento de las placas de compuerta en forma de cuña son más complicados que los de las placas de compuerta paralela, pero tienen un mejor rendimiento de sellado.


Figura 2 Válvula de compuerta de cuña de vástago oculto


a) Placa de compuerta simple en cuña b) Placa de compuerta doble en cuña c) Placa de compuerta elástica en cuña


1. Volante 2. Indicador 3. Tapa 4. Prensaestopas 5. Empaquetadura 6. Tapa de válvula

7- Vástago de válvula 8 - Tuerca del vástago de válvula 9, 12 - Anillo de sellado 10 - Cuerpo de válvula 11 - Placa de compuerta 13 - Junta


La válvula de compuerta elástica se muestra en la Figura 3. Tiene las ventajas de una estructura simple y un uso confiable, y puede producir una pequeña deformación elástica, lo que aumenta la estanqueidad del cierre.



Figura 3 Válvula de compuerta elástica


1. Volante 2- tuerca del vástago de la válvula 3 - prensaestopas 4 - empaquetadura 5 - tapa de la válvula 6 - junta

7- Cuerpo de la válvula 8 Placa de compuerta 9 - Anillo de sellado 10 - Vástago de la válvula 11 - Perno de conexión


En una válvula de compuerta de vástago ascendente, la rosca del vástago de la válvula encaja con una tuerca de manguito equipada con un volante. El extremo inferior del vástago de la válvula tiene una cabeza cuadrada que está incrustada en la placa de compuerta. Cuando se gira el volante, el vástago de la válvula y la placa de compuerta se mueven hacia arriba y hacia abajo. Al abrir, el vástago de la válvula sobresale del volante. La ventaja es que el grado de apertura de la válvula se puede juzgar a partir de la longitud extendida del vástago de la válvula y el vástago de la válvula no entra en contacto directo con el medio transportado. El inconveniente es que la válvula tiene una gran altura de apertura y el lugar de instalación debe tener suficiente espacio para que el vástago de la válvula se extienda hacia afuera. Al realizar la instalación en obra, asegúrese de prestar atención a este punto. La rosca externa del vástago de la válvula de compuerta de vástago oculto encaja con la rosca interna incrustada en la válvula. Por lo tanto, cuando se gira el volante, el vástago de la válvula gira, lo que hace que la compuerta dentro de la válvula se mueva hacia arriba y hacia abajo, pero el vástago de la válvula no puede moverse hacia arriba y hacia abajo. La válvula de compuerta de vástago oculto ocupa menos espacio durante la instalación. El medio transportado entra en contacto directo con el vástago de la válvula y el grado de apertura de la válvula no se puede juzgar a través del vástago de la válvula. Ya sea una válvula de compuerta de vástago ascendente o una válvula de compuerta de vástago no ascendente, la válvula de compuerta debe instalarse horizontalmente. El vástago de la válvula debe estar verticalmente hacia arriba y no inclinado. Está estrictamente prohibido instalar el vástago de la válvula hacia abajo.



Noticias relacionadas
Déjame un mensaje
X
Utilizamos cookies para ofrecerle una mejor experiencia de navegación, analizar el tráfico del sitio y personalizar el contenido. Al utilizar este sitio, acepta nuestro uso de cookies. política de privacidad
Rechazar Aceptar